股票代碼836946
全國咨詢熱線: 400-0373-685 / 0373-5701115
食品供粉系統 冶金粉末系統 醫藥生產系統 精密過濾系統 尾礦干排系統 輸煤專供系統
防爆設備 精細篩分 礦用篩分 破碎設備 過濾設備 輸送設備 成套設備 電機&篩網
食品行業 醫藥行業 化工行業 冶金行業 礦產行業 熱電行業 油脂行業 其他行業
服務內容 配件中心 保養常識 我要報修
公司動態 媒體報道 產品百科 視頻中心 高服圖庫
公司簡介 發展歷程 企業文化 社會責任 社會榮譽 專利創新
熱門關鍵詞: 振動篩 旋振篩 超聲波振動篩 直線篩 脫水篩 四齒輥破碎機 葉片過濾機
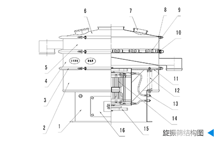
振動篩是篩分設備的統稱,振動篩主要有精細類:旋振篩、直線振動篩、搖擺篩、超聲波振動篩、直排篩等,礦用類:圓振動篩、概率篩、脫水篩、方形搖擺篩、棒條篩、滾軸篩等。所以今天小編主要將使用量較大的旋振篩、直線振動篩、圓振動篩的圖紙結構圖原理圖給大家詳細展示一下。
我們不僅僅服務于500強企業 ……無論您在何地,我們都提供完善的服務與支持。
本文標簽: 篩分機價格 直線振動篩多少錢 投料站價格
咨詢熱線
食品供粉系統 食品配料系統 精密過濾系統 尾礦干排系統 輸煤專供系統
精細篩分 礦用篩分 破碎設備 過濾設備 輸送設備 成套設備 振動電機
公司動態 媒體報道 產品百科 高服圖庫
新鄉市高服機械股份有限公司版權所有備案號: 豫ICP備08105750號-22 百度統計 網站地圖
全國服務熱線:400-0373-685 / 0373-5701115公司地址:新鄉市朗公廟107國道立交橋北(朗公廟13號)
郵箱:vip@zhendongshai.com QQ: 技術支持:牛商股份豫公網安備 41072102000510號
高服機械
400電話
返回頂部